温州市失业人员临时生活补贴申领办理指南
| 服务提供机构 | 市人力社保局 | 统一社会信用代码 | 11330300587774813D |
| 服务对象 | 个人 | 办件类型 | 承诺件 |
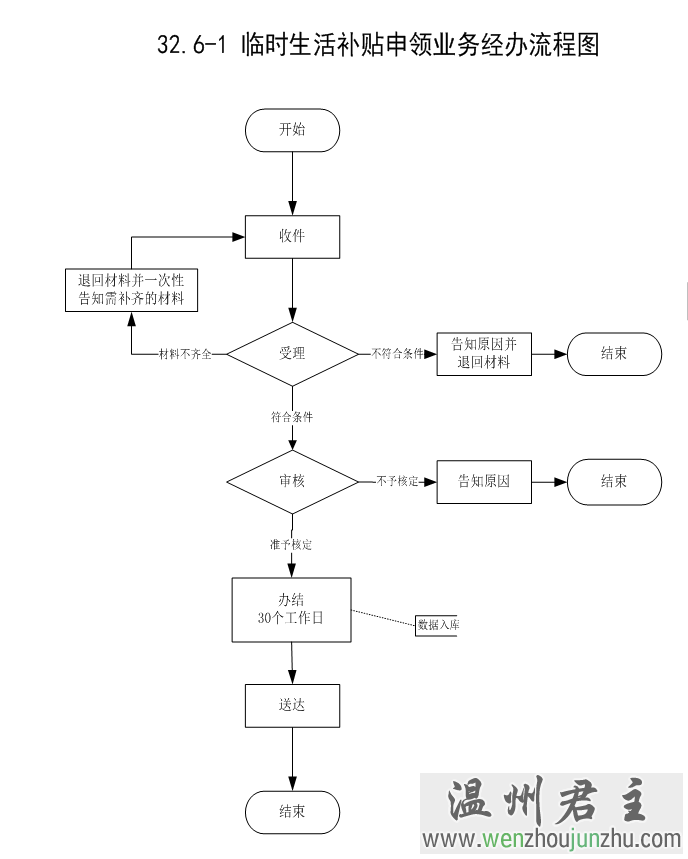
| 法定办结时限 | 180(工作日) | 承诺办结时限 | 30(工作日) |
| 办理地点 | 温州市人力资源和社会保障局(温州市鹿城区蒲鞋市街道学院中路303号)2号楼2楼6号窗口 | ||
| 办理时间 | 工作日,夏季:上午8:30-12:00,下午2:30-5:30;春、秋、冬季:上午8:30-12:00,下午2:00-5:00 | ||
| 咨询方式 | 监督投诉方式 | ||
| 事项名称 | 失业人员临时生活补贴申领 | 事项类型 | 公共服务 | 基本编码 | 332014138001 |
| 服务提供机构 | 市人力社保局 | 服务对象 | 个人 | 办件类型 | 承诺件 |
| 法定办结时限 | 180(工作日) | 承诺办结时限 | 30(工作日) | ||
| 到办事现场次数 | 0次 | 必须现场办理原因说明 | 无需到现场办理 | 网上办理深度 | 全程网办(Ⅳ级) |
| 实施主体性质 | 法定机关 | 实施或牵头处(科)室名称 | 温州市就业创业管理服务中心 | ||
| 行使层级 | 市级 | 是否进驻政务大厅 | 否 | 是否支持自助终端办理 | 不支持 |
| 自然人主题分类 | 就业创业 | 相关附件 | 无相关附件 | ||
| 办事信息 | |||||
| 是否网办 | 是 | 办理形式 | 网上申请/现场窗口申请 | 通办范围 | 全市 |
| 是否支持预约办理 | 不支持 | ||||
具体地址: 温州市人力资源和社会保障局(温州市鹿城区蒲鞋市街道学院中路303号)2号楼2楼6号窗口
办理时间: 工作日,夏季:上午8:30-12:00,下午2:30-5:30;春、秋、冬季:上午8:30-12:00,下午2:00-5:00
受理条件 无特定受理要求
| 设定依据1 | 法律法规名称 | 浙江省人民政府关于做好当前和今后一个时期促进就业工作的实施意见 |
| 依据文号 | 浙政发〔2018〕50号 | |
| 颁布机关 | 浙江省人民政府 | |
| 条款内容 | 第四条 做好失业人员帮扶( 十一) 实行失业登记常住地服务。失业人员可在常住地公共就业服务机构办理失业登记, 申请享受当地就业创业服务、 就业扶持政策、 重点群体创业就业税收优惠政策; 符合条件的, 可在常住地进行就业困难人员认定, 享受就业援助。提升基层就业创业服务能力, 深入推进高质量就业社区( 村) 建设, 对建设成效突出的, 给予一定奖补。( 省人力社保厅牵头, 省财政厅、 浙江省税务局等参与)( 十二) 加强就业援助工作。各地要切实把就业困难人员作为优先服务对象, 进一步优化登记认定程序, 加强动态管理、 分类帮扶和全程跟踪服务, 提高就业援助精准度, 促进就业困难人员稳定就业。各地可根据需要, 加大公益性岗位开发力度, 优先安置失业职工中的就业困难人员。( 省人力社保厅牵头, 省财政厅等参与)( 十三) 保障困难群众基本生活。对符合条件的失业人员, 按时足额发放失业保险金, 其个人应缴纳的基本医疗保险费从失业保险基金中列支。生活困难的失业人员, 按当地最低生活保障标准给予不超过 6 个月的临时生活补助, 对象范围由各地结合实际确定, 所需资金由就业补助资金列支。将符合最低生活保障条件的家庭, 及时纳入最低生活保障范围。对符合临时救助条件的, 及时给予临时救助。( 省民政厅、 省财政厅、 省人力社保厅、 省医保局、 浙江省税务局按职责分工负责) |
是否收费 不收费
收费依据 不收费
是否支持网上支付 不支持



